SA60和LMD18245分別是美國Apex公司和NS公司推出的面向中小型直流電機的全橋功率輸出電路。它們既具有在外接少量元件的情況下實現電機的功率驅動、控制以及提供保護等功能的共性,又具有各自特色。下面就其引腳、功能特點及其典型應用作一個介紹。
兩芯片的主要性能參數及其特點
SA60的性能參數及應用范圍
SA60的是一個PWM型功率輸出芯片, 電路提供給電機的電源電壓最大可達到80V , 能連續向負載提供10A 的電流。最大模擬輸入電壓5V , PWM載波頻率可以到250kHz , 而效率可以高達97 %, 該芯片還可以外接一個可兼容的TTL 型的PWM 的信號來同步四象限模式的幅值和方向。SA60 主要應用在驅動中小型直流電機,D 類功率放大,軸承激勵等場合。
LMD18245的性能參數及應用范圍
LMD18245 芯片可為電機提供最大55V 的電源電壓,邏輯電路電壓12V ,最大持續電流輸出3A ,峰值電流可達6A ,最小輸入脈沖寬度2μS ,電流傳感器最大線性誤差±9 %。與SA60 一樣, 該功率輸出級具有很高的效率。由于在芯片中集成了四位D/ A轉換器和電機電流傳感器、固定切斷時間的斬波放大器等電路, 所以LMD18254 很容易完成對電機電流的數字控制,實現步進電機的微步驅動。因此,該芯片主要用于小型直流電機特別是步進電機的控制和驅動上。
引腳及其功能
外形
SA60和LMD18245 的外形封裝如圖1。

內部電路框及各引腳功能
SA60 各引腳功能

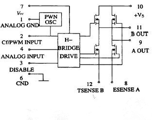
SA60 的內部結構框如圖2 所示。電路共有12個引腳,其中10、7 兩腳分別是H 橋和PWM 及橋的驅動級電源端; 9、11 為功率信號輸出端, 其輸出波形與輸入信號的關系是:9 腳輸出PWM 信號的占空比隨輸入信號電壓的增加而增大,11 腳卻反之; 1、6腳為接地端, 前者是模擬接地端, 后者是功率接地端;8、12 端可以直接接功率地, 也可以通過一個電阻接地,作為限流感用,該端的電壓最大值為±2V ;2、4 兩端分別是模擬和數字控制信號的輸入端。
LMD18245 各引腳功能
LMD18245 的內部結構框圖如圖3 所示。9 腳是電源端; 1、15 腳功率橋的輸出端; 12、5 腳分別是信號地和功率電路接地端; 4、6、7、8 是D/ A 轉換器的二進制數據輸入端, 其中4 腳為二進制數的最高位;10腳是緊急停止控制端,高電平有效; 11 腳為方向邏輯輸入端;3 腳上聯接一個并聯的RC 網絡,可將單穩脈沖寬度設置為: 1. 1 RC 秒。此外, 該芯片還提供了電流傳感器放大輸出端(13 腳) ,比較信號輸出端(2 腳) ,和數模轉換參考電壓輸入端(14 腳) 。

芯片的應用實例
雖然這兩個芯片都是開關式全橋功率驅動電路,由于內部結構的不同,工作方式也不盡相同,所以在作為電機控制電路時,電路的工作方式也各有特點。圖4 是SA60 驅動直流電動機時的典型接線圖,在該圖中芯片被聯接成模擬輸入方式, 在數字輸入端(2 腳) 與模擬地之間聯接一個電容器CT ,改變它的大小,可以調整PWM 載波的頻率在22~250kHz之間變化的。
雖說LDM18245 的持續電流輸出的指標還不足SA60 的三分之一,但在控制方式上有它靈活方便的一面,采用不同的聯接方式可以實現電機的不同的控制方式,獲得不同的控制性能,圖5 是用雙極性輸出方式驅動直流電機的實例。其中固定斬波時間為1. 1 RC;電流傳感電阻RW 參考公式:
計算,其中UREF是D/ A 轉換電路的參考電壓,D為D/ A 轉換電路的輸入電壓值, IS 為電機電流的最大設定值。與SA60 不同,在LMD18245 芯片中沒有PWM 電路,想通過PWM 的占空比來控制電機的轉速和轉向,需要外接控制器,聯接方法如圖中所示。
應用時的注意事項
在實際使用這兩種芯片時必須注意如下幾個事項。一是在電源端和功率地端必須接旁路電容,否則由于電機電流跳變或換向引起的尖峰電壓和浪涌電流會使芯片損壞。具體的做法是在芯片的電源端并聯一個1μF 的高頻陶瓷電容和一個100μF 的鋁電解電容,并注意聯接線要盡量的短。二是在布線時注意將模擬地和功率地嚴格分開,注意控制信號輸入線和功率信號輸出線保持距離,以免反饋、干擾。
小結
這兩款功率輸出芯片都具有輸出電流大、工作效率高、電路設計簡便、體積小巧、性能穩定等特點。所以它們的應用范圍遠不止上述所談到的幾種, 就SA60 以及它的同系列產品SA50 、51 芯片來說,作為D 類音頻功率輸出電路已有應用,這類功率輸出裝置功率之高是傳統模擬音頻功率輸出級所望塵莫及。 |