作者:Iris Wen
隨著USB PD (USB Power Delivery)的普及,越來越多的個人電子設備支持USB PD,除了最為常見的手機、電腦之外,顯示器、便攜智慧屏等產品也在朝著這個方向發展。此外,適配器、拓展塢及各類充電設備中,支持USB PD 的type-C接口也早已是產品的“標配”。在充電方面,除了USB PD,無線充電功能也逐漸走入大眾視野,尤其對于一些小型電子設備而言,無線充電能夠有效美化外觀設計,同時也讓其使用變得更加高效便捷。

TI新推出的降壓/升壓轉換器TPS55289性能極佳,為個人電子設備中的USB PD及無線充電等相關應用提供了解決方案,TPS55289的優勢體現在:
• 能夠支持最高60W輸出,是一顆四管集成buck-boost,具有極高的功率密度。
• 輸入電壓范圍為3-30V(車規級芯片可達到36V),輸出電壓范圍為8-22V,輸入電流限制高達8A,能夠滿足絕大多數個人電子產品的要求。
• 效率極高,在輸入12V、輸出20V/3A的條件下,效率高達96%,且靜態電流(Iq)小于1mA,能最大限度地減少能量損耗。
• 采用QFN封裝,尺寸僅為15 mm2,加之四管集成,能為個人電子產品提供小尺寸解決方案。
• 支持I2C及PPS協議

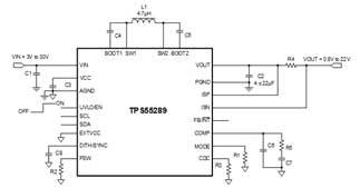
下圖所示的是TPS55289在USB PD中的應用框圖,它能夠滿足USB PD標準協議,可通過I2C實現與PD控制器的通信。并且,它有著極高的能量轉化效率,在輸入12V、輸出20V/3A的條件下,效率能夠達到96%。TPS55289還是一款四管集成的buck-boost,能夠在很大程度上節省板級空間,非常適用于個人電子產品的小型化設計。

同樣,TPS55289也適用于無線充電,下圖是該應用的示例框圖。TPS55289的頻率能夠達到2MHz,使得開發者可以使用更小的外圍器件完成設計,從而減小整體解決方案的尺寸,并且節省BOM成本。此外TPS55289支持I2C協議,可以通過I2C調節輸出電壓。

|