我們已經知道交流電有以下性質:
1.大小和方向均做周期性變化,平均值為零;有三要素:幅值、角頻率、初相位;
2.描述交流電的方式有瞬時值表示法、波形圖、有效值、矢量法;
3.不同的交流電之間可能同相、反相、正交,或者相差某個角度;
4.交流電通過電阻、電感、電容以及它們的組合電路,所表現出來的性質不同,主要反映在相位、阻抗、功率上;
以上四點和直流電均不同,因此交流電在計算上有自己的公式、方法、性質。
好了,回顧了上述問題之后就可以進行以下學習了;電阻、電感、電容的差別之處在以下6個方面,我們逐一進行講解,對比。
一、電阻
1.瞬時值關系式:u=RI,也就是通過電阻的電壓等于通過的電流與電阻的乘積,注意這個公式里面的u、i均是小寫;這個公式中實際使用當中很少用到,它反映的是電壓和電流的瞬時值關系;
2.有效值關系:電阻等于電壓與電流的比值,注意這里的電壓和電流均是有效值,這個是非常實用的公式,我們應該掌握,它和直流電路的計算方式是一樣的;

3.阻抗:電阻的阻抗就是電阻,怎么聽起來這么別扭呢?我們前面講過,阻抗包括電阻、感抗、容抗,是針對不同的電抗元件而言的,這是交流電特有的;

4.矢量圖,從圖上可以看出,加在電阻上的電壓和電流是同相關系;

5.功率,等于電壓與電流的積,或者電流的平方與電阻的積,P=UI,單位瓦特(W),這個功率叫有功功率,就是實實在在的消耗了電能的功率,這是電阻特有的,它就是一個耗能元件;
6.功率因數:我們知道功率因數就是電壓和電流相位差的余弦,由于加在電阻上的電壓和電流同相,即相位差為零,那么其功率因數就是cosφ=1,這是值;
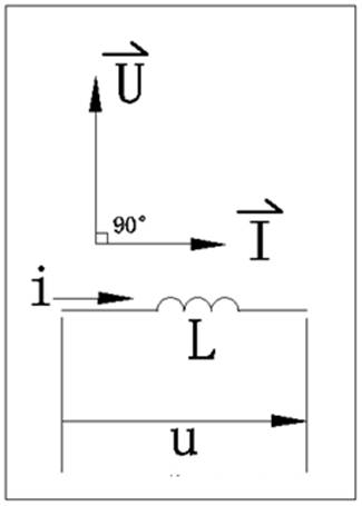
二、電感L
1.瞬時值關系

也就是加在交流電上的電壓與電流的變化率成正比,注意和電阻的瞬時值一樣u、i均是小寫;這個公式有價值,應記住;另外是與變化率成正比,不是變化量也不是固定值,這與電阻不同;
2.有效值關系:加在電感上的電流與電壓成正比,等于感抗,注意電壓電流均是有效值,這個是非常實用的公式,我們應該掌握,它和電阻在形式上一致;

3.阻抗:電感對電流有阻礙作用,其值的大小用感抗表示XL=2πfL,f交流電的頻率,L電感;從該公式可以看出,交流電頻率越大,電感對其感抗越大,這就是交流電的通直隔交作用,用它的這個功能可以進行濾波;
4.矢量圖:從圖上可以看出,加在電感上的電壓超前于電流90°

5.功率,有功功率P=0,也就是電感的有功功率為零,它不是耗能元件,它是儲能元件,其儲能能力用無功功率表示QL=UI,等于電壓與電流的積,或者電流的平方與感抗的積,,單位乏爾(var),這是其重要特點;
6.功率因數:由于加在電感上的電壓超前于電流90°,也就是二者的相位差90°,那么cosφ=0;
三、電容C
1.瞬時值關系

也就是通過電容的電流與其兩端的電壓的變化率成正比,注意和電阻的瞬時值一樣u、i均是小寫;這個公式有價值,應記住;
2.有效值關系:加在電容上的電流與電壓成正比,等于容抗,注意這里的電壓、電流均是有效值,這個是非常實用的公式,我們應該掌握,它和電阻、感抗的計算式在形式上一致;

3.阻抗,電容和電阻、電感一樣,也對電流有阻礙作用,其值的大小用容抗表示,f交流電的頻率,C電容,通過這個公式我們可以看出,交流電的頻率越大,容抗越小,直流電頻率為零,容抗無限大,這就是電容的隔直通交作用。

4.矢量圖,從圖上可以看出,加在電容上的電壓滯后于電流90°

5.功率,P=0,也就是電容和電感的有功功率均為零,它也不是耗能元件,它和電感一樣是儲能元件,其儲能能力用無功功率表示QL=UI,等于電壓與電流的積,或者電流的平方與容抗的積,,單位也是乏爾(var),
6.功率因數,由于加在電容上的電壓超前于電流90°,也就是二者的相位差90°,那么cosφ=0;
通過以上的分析,我們看出交流電通過電阻、電感、電容所表現出來的性質大不相同,正是這種差異,使得它們的組合性質多樣化,表現出了豐富多彩的性質,在電子電路中得到了廣泛的應用,比如選頻、移相等。 |