如果將今天的智能汽車看成是一個“生物”,那么汽車電子設備的電源管理系統,就像是這個“生物”的心血管系統,為其提供運轉所需的能量。不過和自然界中真實的生物不同,汽車這個物種進化得太快了,隨著其功能的不斷發展,對于“心血管”造成的壓力可想而知。因此,新一代汽車電源管理系統的設計,也是勢在必行。
眾所周知,汽車電子的諸多功能是由遍布車身的電子控制單元(ECU)實現的,ECU除了要提供動力和駕控等汽車作為交通工具的“傳統藝能”,更是實現ADAS、信息娛樂主機、智能儀表盤等快速增長的車載智能化功能的關鍵。據分析,高端汽車中集成有近百個ECU。
想要確保這么多ECU可靠而安全地運轉,為每個ECU“架設”專用的電源管理鏈路,使其能夠從汽車電池中獲取電力,顯然是必不可少的工作。而在這個過程中,一個突出的挑戰在于:ECU數量在增加,相應地電源管理系統會變得越來越復雜,而汽車的空間是有限的。因此,應對這樣的挑戰,如何進行汽車電源管理系統的小型化設計,也就成了一個繞過不去的必答題。
汽車電源管理小型化設計挑戰
當然,“小型化”三個字說說容易,做起來并不簡單。這是因為與其他的應用相比,汽車電源管理面對的約束條件更多,需要權衡的技術要素也更全面。
首先,在不影響性能的前提下,用集成度更高的解決方案替代分立器件方案,肯定是優先考慮的方法。因此,能夠提供多路電源軌輸出,為多個用電單元供電的車用PMIC,會更受開發者的青睞。
其次,隨著單臺車輛上汽車電子設備數量的增加,也需要汽車管理器件有能力支持更高功率、更大電流的應用。而在某些應用中,特別是一些高性能的SoC,對于電壓軌的電壓精度等指標會有更特殊的要求。這都要求車用電源管理器件,在性能上有相應的提升和優化。
再有,受汽車空間所限,車載電子產品受到的“熱約束”也更大。這就要求電源管理系統在提升效率上精益求精、錙銖必較,盡可能減少熱損耗,簡化熱管理系統設計的復雜性。
同時,狹小的空間也會增加EMI防護和治理方面的挑戰,而在電源管理中廣泛使用的開關穩壓器本身就是一個“噪聲源”,因此需要從器件級和系統級兩個方面著手,應對EMI的問題——這不僅僅是產品功能設計的需要,更是相關法規標準的強制要求,不容馬虎。
此外,汽車應用在可靠性和安全方面的高標準,也會體現在電源產品的設計上,在小型化的同時,確保電源管理方案達到相應的功能安全等級,也是必不可少的技術考量。
上述諸多技術因素的影響,使得工程師在設計小型化的汽車電源管理系統時,對于相關芯片解決方案的選型會更加“挑剔”,能夠成為他們心頭好的電源管理器件,一定需要具備過硬的實力以及與眾不同的優勢。接下來,本文將帶大家認識這樣幾款Analog Devices出品的車用電源管理器件。
高集成方案,減小占板面積
以汽車中的ADAS高級輔助駕駛系統為例,為了實現更高級別的駕駛自動化,提供更佳的用戶體驗,ADAS系統中通常會采用包括毫米波雷達、激光雷達和攝像頭模塊在內的多種環境傳感器,每種傳感器的數量也不止一個,以增強對環境的感知能力。
在傳統的方案中,為單個環境傳感器供電(以毫米波雷達中的單片MMIC為例),需要包括多個電壓調節器、監視器和看門狗IC在內的六個分立的器件(如圖1)。這樣的方案可能會占掉一個傳感器模塊PCB上一半以上的面積,這顯然會讓核心的功能設計捉襟見肘,處處受制。

圖1:基于分立器件的雷達ECU電源管理方案(圖源:Analog Devices)
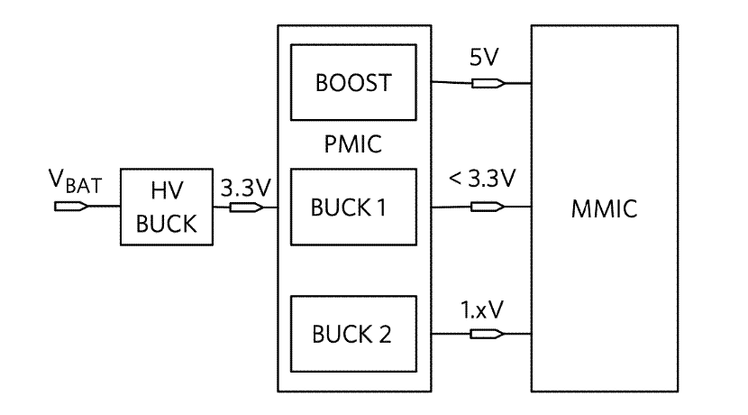
為此,Analog Devices提出了一種基于高集成度PMIC的雙芯片解決方案(如圖2),大大減少了電源管理系統的占板面積,為其他的功能電路釋放出充足的設計空間。

圖2:基于PMIC的雷達ECU電源管理方案(圖源:Analog Devices)
由上圖可見,該方案包括兩個核心電源管理器件:
· 前端是一個高壓降壓轉換器(HV BUCK),其作用是將電池電壓降至3.3V;
· 后端是一個高密度、低電壓的PMIC,其集成有多路的電壓調節器,包括降壓調節和升壓調節,以產生高精度的電壓軌輸出,為功能模塊中的用電負載供電。
架構優勢
這種架構一方面可以顯著優化電源管理系統的尺寸,賦能產品的小型化設計,另一方面也有利于方案的可擴展性,開發者可以根據目標應用的需要,分別選擇更為合適的高壓降壓轉換器和低壓PMIC,實現更優的方案。
Analog Devices也為支持這一架構,提供了豐富的產品組合。
MAX20014
在后端低壓PMIC方面,MAX20014是一個應用范圍很廣的解決方案。MAX20014是一個高效、三路輸出的低壓DC-DC轉換器,其中一路同步升壓轉換器輸出,將輸入電壓升壓到8.5V,輸出電流高達750mA;而兩路同步降壓轉換器的輸入電壓范圍為3.0V至5.5V,提供0.8V至3.8V的輸出電壓,負載電流可達3A。在整個負載范圍,以及器件的工作溫度范圍內,MAX20014都能夠提供較高的精度(升壓轉換器精度可達±2%,降壓轉換器的精度可達±1.5%)。
除了本身的高集成度,由于MAX20014的工作頻率高至2.2MHz,因此允許使用外形更小的全陶瓷電容,使得外圍元件占位面積更小。
在效率方面,MAX20014可以工作在2.2MHz固定頻率脈寬調制(PWM)模式可提供更好的負載瞬態響應;其也可工作在脈沖頻率調制模式(SKIP),確保輕載下的高效工作。由于集成了低RDS(ON)開關,因此相對于分立式方案,MAX20014也大大提高了重負載時的效率。
此外,MAX20014采用可編程擴頻調制,可有效抑制EMI電磁輻射。器件還提供預設的固定或電阻可調節輸出電壓、軟啟動、過流和過熱保護等功能,可以說是一位各方面實力都不俗的“六邊形戰士”。
圖3:MAX20014升壓和雙通道降壓轉換器框圖(圖源:Analog Devices)
MAX20408
在前端的高壓降壓轉換器的選擇上,具有10μA靜態電流和雙相能力的汽車級36V、8A全集成降壓轉換器MAX20408是一款值得推薦的產品。
作為一款小型同步降壓轉換器,MAX20408集成了高側和低側開關,可在3V到36V的寬輸入電壓范圍內提供高達8A的電流。其還具有雙相功能,可將兩個IC配置為主機和從機,進行動態電流共享和180°錯相操作,這樣一來可支持的電流將成倍增加,達到16A。這種大電流能力,非常有利于為下游更豐富的功能模塊提供充沛的電力,以簡化整體系統BOM。

圖4:MAX20408汽車級全集成降壓轉換器框圖(圖源:Analog Devices)
2.1MHz和400kHz的高開關頻率選項,使得MAX20408同樣支持外部元件的小型化,同時可減少輸出紋波并確保無AM干擾。擴頻選項也有助于進一步減少EMI輻射。
MAX20408可編程的FSYNC輸入支持三種不同的工作模式,包括強制PWM模式、超低靜態電流的跳躍模式以及與外部時鐘的同步模式,有利于性能的優化。其電壓質量可以通過觀察PGOOD信號來監測,并可以在99%占空比低壓差下運行,非常適合于汽車和工業等高可靠性應用。

圖5:MAX20408可為后端電路提供充足電力(圖源:Analog Devices)
多路電源監控器,確保功能安全
越來越多汽車電子設備的部署,除了要考慮性能和功能方面的要求,還有一個必不可少的技術考量,這就是功能安全,其作用是確保車輛中電氣安全相關系統發生故障時,不會導致安全系統的故障或風險。這在車載應用中是至關重要的。
汽車電子系統所需的功能安全級別,以系統的ASIL(汽車安全完整性級別)評級來定義,由低到高分為從A到D四個級別。想要達到所需的ASIL級別,通常有兩種方法:一種方法是使用集成了相關功能、本身符合ASIL的IC,采用這種方法BOM更簡化,當然單顆物料的成本也會更高些;另一種方法是使用監控電路來提供系統達標所需的檢測、診斷和驗證等功能,這種方案通常具有更大的設計靈活性。
在汽車電源管理領域,無論采用哪種方法,都面臨著小型化的設計挑戰。以ADAS系統為例,通常需要對其核心SoC進行電壓監控和執行監控,以確保系統的正常工作。這個過程中,核心SoC需要執行多個復雜算法來將傳感器數據轉換為邏輯響應,需要看門狗IC來確保正確執行。這些復雜算法需要SoC內集成的不同功能模塊(如主處理器外圍電壓、處理器內核、存儲器和外設)共同來完成。在主SoC之外,整個系統中還可能會有其他微控制器控制的傳感器進行數據采集和驅動響應……所用這些都需要不同的電源軌供電,而為了滿足功能安全要求,則需要對每個電源軌都進行電壓監控。這時,一個高集成度的電源監控解決方案就顯得十分必要了。
MAX20480是符合ASIL標準的SoC電源系統監測器,可支持多達7路電壓監測輸入,每路輸入均具有可編程OV/UV門限(介于2.5%至10%之間),精度為±1%。其中兩路輸入具有獨立的遠端地檢測輸入,通過集成I2C接口支持DVS。
MAX20480包含可編程靈活上電順序記錄器(FPSR),該記錄器可獨立儲存上電和斷電時標,支持開/關和休眠/待機電源排序。MAX20480還包含可編程質詢/應答看門狗,可通過I2C接口訪問,同時還包括可編程低電平有效RESET輸出。
顯而易見,與獨立IC或分立式元件相比,MAX20480在提高可靠性的同時大大降低了所需元件的數量,減少了系統尺寸,與監控控制器配合使用時,MAX20480可滿足ASIL-D可靠性標準的要求,提供了一種小型化的設計解決方案,在ADAS、駕駛員和乘客監控系統、信息娛樂系統、智能座艙等新興車載應用中都能夠大顯身手。
圖6:MAX20480電源系統監測器(圖源:Analog Devices)
本文小結
越來越豐富的汽車電子功能,推動著相關電子設備小型化的設計趨勢。而這種小型化的設計要求具體到為每個ECU供電的電源管理系統的設計上,就面臨著諸多挑戰。以往開發者不得不在諸多設計要求之間進行權衡取舍,難于達到理想的設計目標。
好消息是,Analog Devices提出了一種理想的雙芯片汽車電源系統架構,并提供了豐富的產品組合,以滿足不同車載應用電源管理系統設計的要求。如果你想了解更多的技術信息,探索更多的可能性,請訪問貿澤電子官網中相關的技術專題頁面,你一定會收獲滿滿。 |