功能特性
◆ 基于 8051指令的高速 1T 增強型 MTP SOC
◆ ROM
┄ ROM 空間:16K*8 位 MTP,可重復寫入 10K次,105℃下 10 年保存壽命
┄ EEPROM 空間:512 BYTE,可重復寫入 20K次,105℃下 10 年保存壽命
┄ BootLoader:支持 1K BYTE LDROM,Code Option 選擇從 APROM 或 LDROM 啟動
┄ 支持雙線仿真、IAP 和 ICP 操作
┄ 靈活的代碼保護模式 ◆ RAM ┄ 256 BYTE IRAM
┄ 768 BYTE XRAM
◆ 工作條件
┄ 1.8~5.5V@-40~85℃應用環境
┄ IC 系統時鐘(fsys)對應的工作電壓范圍
-- >16MHz@2.9~5.5V
-- ≤8MHz@2.4~5.5V
◆ 時鐘系統
┄ 內建高頻 32MHz 振蕩器(fHRC)
-- 作為系統時鐘源時,fsys 可通過編程器選擇設定為 16M/ 8M/ 4MHz/ 2M
-- 頻率誤差:跨越(2.5V~5.5V)及(-20~85℃)應用環境,不超過±1%
┄ 內置高頻晶體振蕩器電路及低頻 32.768KHz 晶振電路
-- 可外接 2~16MHz 晶振或 32.768KHz 晶振
-- 作為系統時鐘源時,fsys 可選擇使用外接晶振 1/2/4/16 這四種分頻中的一種
-- 可用外部 32.768K校正內部高速時鐘 32M
┄ 內建低頻 128KHZ LRC 振蕩器
-- 可作為看門狗定時器(WDT)和自喚醒定時器(WKT)的時鐘源
-- 可用內部高速時鐘 32M 校正 128K時鐘
-- 頻率誤差:跨越(4.0V~5.5V)及(-20~85℃)應用環境,頻率誤差不超過±4%
◆ 低電壓復位(LVR)
┄ 復位電壓有(1.9~4.3V),共 8 當可選
┄ 缺省值為用戶燒寫 Code Option 所選值
◆ 16 檔電平可選的低電壓檢測模塊(LVD)
◆ 中斷源(INT)
┄ Timer0/1/2/3/4,WKT,ADC,PWM,UART,SPI,IIC,TK,LVD 共 27 個中斷源
┄ 外部中斷,所有 IO 口可作為外部中斷共 26 個中斷口,可設下降沿,低電平中斷, 所有 PA、PB、PC 和 PD 都分別共用一個共 4 個入口地址
┄ 四級中斷優先級可設
◆ GPIO
┄ 最大 26 個雙向可獨立控制的 I/O 口,可獨立設定上下拉電阻,可設置為開漏輸出
┄ IO 口源驅動能力分四級控制
┄ 全部 IO 具有大灌電流驅動能力(80mA)
┄ 所有 IO 可作為 1/2 BIAS、1/3BIAS 軟件 LCD 驅動
┄ 數字外設功能引腳全映射模塊(PTM)
◆ 數字外設
┄ 8 位 WDT 和 WKT
┄ 2 個兼容 80C51 定時器 Timer0、Timer1(標準 51)
┄ 16 位 Timer2 帶有 3 路輸入捕獲功能,輸入管腳可任意配置
┄ 16 位 Timer3 可工作在普通模式和掉電模式
┄ 16 位 Timer4/PWM
┄ PWM
-- 1 組 16 位 3 對 6 通道,帶不同工作模式和剎車故障功能的 PWM,時鐘高達 32MHz
-- 1 組 16 位 1 對 2 通道 16 位,復用 TIMER4 時基的 PWM
┄ 2 個獨立 UART 通信口
┄ 1 路 IIC
┄ 1 路 SPI
┄ 集成 16 X 16 位硬件乘除法器
◆ 26 通道高靈敏度高可靠性觸控電路
┄ 高靈敏度可適應隔空按鍵觸控、接近感應等對靈敏度要求較高的觸控應用
┄ 高可靠性具有很強的抗干擾性,可通過 10V 動態 CS 測試
┄ 可實現 26 路觸控按鍵及衍生功能如滾輪、滑條等多種應用
┄ 高靈活度開發軟件庫支持,低開發難度
┄ 自動化調試軟件支持,智能化開發
┄ 低功耗觸控模式,單觸控按鍵喚醒時芯片整體功耗可低至 5uA
◆ 12 位 SAR ADC
┄ 支持最多 26+6 通道 AD 輸入,包括 VDD/4 電壓、IO/4 等
┄ ADC 的參考電壓源可選 VDD、內部基準(1V、2V、3V、4V)、外部參考
┄ 支持硬件啟動和轉換結果比較 ┄ 可設 ADC 轉換完成中斷
◆ 運算放大器 0
┄ 支持全引腳外接,手動校準,
┄ 支持內部 16 倍、64 倍放大,輸出可選內部濾波后引至 ADC
◆ 省電模式
┄ 空閑(IDLE)模式:任何中斷可喚醒
┄ 掉電(PD)模式:外部中斷、WDT、WKT、TIMER3 和 TK 可喚醒
◆ 高可靠性 ┄ ESD 優于±8KV、EFT 優于±4.5KV
◆ 開發工具 ┄ 基于 KEIL或 RM 集成開發環境(IDE),片上調試(OCD)
◆ 封裝
┄ SOP28/TSSOP28、SOP20/TSSOP20、SOP16
管腳配置
管腳排列圖






腳位定義



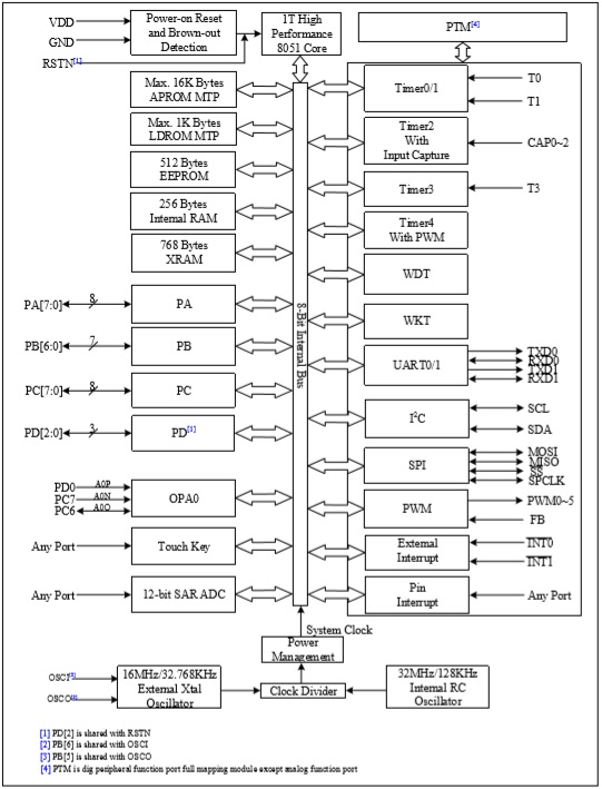
系統框圖
